轴承型号查询 > B709C角接触球轴承
B709C角接触球轴承
B709C 轴承型号对照
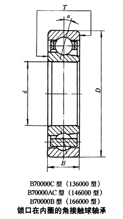
B709C角接触球轴承样本结构图
| 轴承类型:角接触球轴承 | 国内新型号:B709C | 规格(dxDxB):9×24×7 |
| 子分类:锁口在内圈的角接触球轴承 | 国内旧型号:136019 | 重量(kg):0.0132 |
角接触球轴承类型介绍
角接触球轴承可以承受径向负荷和轴向负荷,也可以承受纯轴向负荷,能在较高的转速下工作。单列角接触球轴承只能承受一个方向的轴向负荷。在承受径向负荷时,将引起附加轴向力,并且只能限制轴或外壳在一个方向的轴向位移。若是成对安装,使一对轴承的外圈相同端面相对,及宽端面对宽端面,窄端面对窄端面,这样既可避免引起附加轴向力,而且可在两个方向使轴或外壳限制在轴向游隙内。角接触球轴承的装球数量比深沟球轴承多,因而负荷容量在球轴承中最大,刚性也强,运转平稳。可以利用内外圈相互位移调整径向游隙。
B709C相关型号
B709C相关供货
型号供应商
-
欧盼润滑油轴承销售中心主要销售各种进口轴承和国产轴承,类型有......主营:深沟球轴承/ 调心球轴承...
-
郑州纳麟机电设备有限公司:本公司经营20年来,本着信誉为基础......主营:深沟球轴承/调心球轴承/...
-
广州宫本机械设备有限公司(原广州昊达)成立于2001年,是日......主营:深沟球轴承/调心球轴承/...
-
上海中玖轴承有限公司 我公司是一家以进口轴承销售为主的贸易公......主营:深沟球轴承/调心球轴承/...
-
苏州德胜恩机电设备有限公司主营航天航空,军工等欧美进口轴承,......主营:深沟球轴承/角接触球轴承...



浙公网安备 33010602003658号